Теплоакумулятор з теплообмінниками NEUS 6000 л – надійне тепло для вашої системи опалення
Теплоакумулятор з теплообмінниками NEUS 6000 л – це ефективне рішення для збереження та розподілу теплової енергії в автономних системах опалення. Завдяки вбудованим теплообмінникам цей буферний бак дозволяє максимально ефективно використовувати тепло, забезпечуючи стабільну роботу твердопаливного, електричного або газового котла. Ідеально підходить для приватних будинків, об’єктів малого бізнесу, СТО, державних установ та котелень.
Теплоакумулятор оптимальний для приміщень, де важливо забезпечити ефективну акумуляцію та передачу тепла. Модель також зручна як допоміжна ємність у складніших багатоконтурних системах опалення.
Чому варто обрати теплоакумулятор NEUS з теплообмінниками?
- Накопичення та збереження тепла – зменшення кількості включень котла, стабільна температура в системі, економія палива.
- Вбудовані теплообмінники – для нагріву теплоносія або гарячої води під санітарні потреби.
- Якісна теплоізоляція – збереження тепла до 48 годин завдяки мінеральній ваті ISOVER «Теплий Дім» (товщина 100 мм).
- Надійна конструкція – сталь товщиною 3 мм гарантує довговічність навіть при високому тиску.
- Зручність монтажу – різні варіанти розташування патрубків (0°, 90°, 180°) для зручного підключення до існуючої системи.
- Готовність до модернізації – можливість встановлення ТЕНів через фланець для електронагріву.

Надійність, перевірена досвідом
Виробник теплоакумуляторів NEUS – український завод «Нотеус», який вже багато років спеціалізується на виготовленні енергоефективного обладнання. Уся продукція проходить контроль якості та сертифікацію, відповідає сучасним вимогам щодо енергозбереження та безпеки експлуатації.
Буферна ємність виготовлена з вуглецевої сталі завтовшки 3 мм, що забезпечує міцність конструкції при високих навантаженнях. Товщина сталі може змінюватись в залежності від об’єму моделі – від 4 мм для ємностей на 3000–7000 л, до 5 мм у промислових версіях.
Продумана конструкція – максимум ефективності
Циліндрична форма забезпечує рівномірний розподіл тиску, а компактні габарити дозволяють зручно розмістити теплоакумулятор навіть у технічних приміщеннях з обмеженим простором. Зовнішній чохол з водовідштовхувальної тканини «Кордура» не лише зберігає привабливий вигляд, а й полегшує догляд.
Можливі модифікації:
- з одним або двома теплообмінниками (верхній/нижній);
- з патрубками під різними кутами;
- із змінним типом сталі для теплообмінника – звичайна або нержавіюча.
Окремі моделі оснащуються фланцем для ТЕНів, що дає змогу комбінувати джерела тепла.
Теплоакумулятор NEUS 6000 л – універсальне рішення для стабільного теплопостачання
Використання теплоакумулятора з теплообмінниками NEUS дозволяє:
- підвищити ККД котла;
- рівномірно розподіляти тепло упродовж доби;
- уникнути перегрівів і теплових ударів у системі;
- мати запас гарячої води для опалення або побутових потреб.
Це рішення стане ефективною частиною будь-якої опалювальної системи – автономної чи комбінованої.
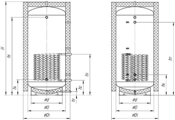
Технічні характеристики буферної ємності Neus з нижнім теплообінником

| Варіант виконання | ТА1н.500 | ТА1н.800 | ТА1н.1000 | ТА1н.1500 | ТА1н.2000 | ТА1н.3000 | ТА1н.4000 | ТА1н.5000 | ТА1н.6000 | ТА1н.7000 |
| Vбак, л | 480 | 780 | 990 | 1440 | 2050 | 2890 | 3875 | 4880 | 5850 | 6850 |
| Габарити, мм | H | 1935 | 2000 | 2045 | 2125 | 2150 | 2340 | 2395 | 2895 | 3395 | 3895 |
| 1’’ | 1’’ | 1’’ | 1’’ | 1’’ | 1’’ | 1’’ | 1’’ | 1’’ | 1’’ |
| ød | 450 | 600 | 700 | 850 | 1000 | 1150 | 1300 | 1300 | 1300 | 1300 |
| øD | 600 | 750 | 850 | 1000 | 1200 | 1400 | 1600 | 1600 | 1600 | 1600 |
| øD1 | 710 | 860 | 960 | 1100 | 1400 | 1600 | 1800 | 1800 | 1800 | 1800 |
| Приєднувальні розміри, мм | h1 | 65 | 65 | 70 | 85 | 90 | 100 | 80 | 80 | 80 | 80 |
| ¾’’ | ¾’’ | ¾’’ | ¾’’ | ¾’’ | ¾’’ | ¾’’ | ¾’’ | ¾’’ | ¾’’ |
| h2 | 285 | 315 | 340 | 390 | 435 | 480 | 500 | 500 | 530 | 530 |
| 1’’ | 1’’ | 1’’ | 1’’ | 1’’ | 1’’ | 1’’ | 1’’ | 1’’ | 1’’ |
| h3 | 790 | 820 | 845 | 895 | 840 | 1065 | 1085 | 1085 | 1115 | 1115 |
| 1’’ | 1’’ | 1’’ | 1’’ | 1’’ | 1’’ | 1’’ | 1’’ | 1’’ | 1’’ |
| h4 | 285 | 315 | 340 | 390 | 435 | 480 | 500 | 500 | 530 | 530 |
| 1 ½’’ | 1 ½’’ | 1 ½’’ | 1 ½’’ | 2’’ | 2’’ | 2’’ | 2’’ | 3’’ | 3’’ |
| h5 | 1685 | 1715 | 1740 | 1790 | 1735 | 1880 | 1900 | 2400 | 2870 | 3370 |
| 1 ½’’ | 1 ½’’ | 1 ½’’ | 1 ½’’ | 2’’ | 2’’ | 2’’ | 2’’ | 3’’ | 3’’ |
| h6 | 415 | 445 | 470 | 520 | 535 | 610 | 630 | 630 | 680 | 680 |
| 1 ½’’ | 1 ½’’ | 1 ½’’ | 1 ½’’ | 2’’ | 2’’ | 2’’ | 2’’ | 3’’ | 3’’ |
| h7 | 1555 | 1585 | 1610 | 1660 | 1605 | 1750 | 1770 | 2270 | 2720 | 3220 |
| 1 ½’’ | 1 ½’’ | 1 ½’’ | 1 ½’’ | 2’’ | 2’’ | 2’’ | 2’’ | 3’’ | 3’’ |
| Маса (без води), кг | 161 | 207 | 237 | 278 | 345 | 490 | 575 | 672 | 752 | 832 |
| Площа теплообмінника, м2 | 1,5 | 1,5 | 1,8 | 1,8 | 2,3 | Узгодження з замовником |
*За проханням замовника площа теплообмінника може бути змінена.
H – патрубок підключення групи безпеки;
h1– патрубок для зливу теплоносія;
h2, h3– патрубки підключення нижнього теплообмінника;
h4–h7 – патрубки подаючих та зворотніх магістралей;
Технічні характеристики буферної ємності Neus з верхнім теплообінником

| Варіант виконання | ТА1в. 500 | ТА1в. 800 | ТА1в. 1000 | ТА1в. 1500 | ТА1в. 2000 | ТА1в. 3000 | ТА1в. 4000 | ТА1в. 5000 | ТА1в. 6000 | ТА1в. 7000 |
| Vбак, л | 480 | 780 | 990 | 1440 | 2050 | 2890 | 3875 | 4880 | 5850 | 6850 |
| Габарити, мм | H | 1935 | 2000 | 2045 | 2125 | 2150 | 2340 | 2395 | 2895 | 3395 | 3895 |
| 1’’ | 1’’ | 1’’ | 1’’ | 1’’ | 1’’ | 1’’ | 1’’ | 1’’ | 1’’ |
| ød | 450 | 600 | 700 | 850 | 1000 | 1150 | 1300 | 1300 | 1300 | 1300 |
| øD | 600 | 750 | 850 | 1000 | 1200 | 1400 | 1600 | 1600 | 1600 | 1600 |
| øD1 | 710 | 860 | 960 | 1100 | 1400 | 1600 | 1800 | 1800 | 1800 | 1800 |
| Приєднувальні розміри, мм | h1 | 65 | 65 | 70 | 85 | 90 | 100 | 80 | 80 | 80 | 80 |
| ¾’’ | ¾’’ | ¾’’ | ¾’’ | ¾’’ | ¾’’ | ¾’’ | ¾’’ | ¾’’ | ¾’’ |
| h2 | 1285 | 1265 | 1290 | 1205 | 1165 | 1295 | 1315 | 1815 | 2285 | 2785 |
| 1’’ | 1’’ | 1’’ | 1’’ | 1’’ | 1’’ | 1’’ | 1’’ | 1’’ | 1’’ |
| h3 | 1685 | 1715 | 1740 | 1790 | 1735 | 1880 | 1900 | 2400 | 2870 | 3370 |
| 1’’ | 1’’ | 1’’ | 1’’ | 1’’ | 1’’ | 1’’ | 1’’ | 1’’ | 1’’ |
| h4 | 285 | 315 | 340 | 390 | 435 | 480 | 500 | 500 | 530 | 530 |
| 1 ½’’ | 1 ½’’ | 1 ½’’ | 1 ½’’ | 2’’ | 2’’ | 2’’ | 2’’ | 3’’ | 3’’ |
| h5 | 1685 | 1715 | 1740 | 1790 | 1735 | 1880 | 1900 | 2400 | 2870 | 3370 |
| 1 ½’’ | 1 ½’’ | 1 ½’’ | 1 ½’’ | 2’’ | 2’’ | 2’’ | 2’’ | 3’’ | 3’’ |
| h6 | 415 | 445 | 470 | 520 | 565 | 610 | 630 | 630 | 680 | 680 |
| 1 ½’’ | 1 ½’’ | 1 ½’’ | 1 ½’’ | 2’’ | 2’’ | 2’’ | 2’’ | 3’’ | 3’’ |
| h7 | 1555 | 1585 | 1610 | 1660 | 1605 | 1750 | 1770 | 2270 | 2720 | 3220 |
| 1 ½’’ | 1 ½’’ | 1 ½’’ | 1 ½’’ | 2’’ | 2’’ | 2’’ | 2’’ | 3’’ | 3’’ |
| Маса (без води), кг | 135 | 171 | 196 | 237 | 299 | 431 | 513 | 591 | 671 | 771 |
| Площа теплообмінника (нерж.), м2 | 1,5 | 1,5 | 1,5 | 2,3 | 2,3 | Узгодження з замовником |
*За проханням замовника площа теплообмінника може бути змінена.
H – патрубок підключення групи безпеки;
h1 – патрубок для зливу теплоносія;
h2, h3 – патрубки підключення верхнього теплообмінника;
h4 – h7 – патрубки подаючих та зворотніх магістралей.
Технічні характеристики буферної ємності Neus з двома теплообінниками


H – патрубок підключення групи безпеки;
h1 – патрубок для зливу теплоносія;
h2, h3– патрубки підключення нижнього теплообмінника;
h4, h5 – патрубки підключення верхнього теплообмінника
h6 – h9 – патрубки подаючих та зворотніх магістралей.
Відеоогляд теплоакумулятора NEUS
Теплоакумулятор з теплообмінниками NEUS 6000 л – це поєднання практичності, ефективності й довговічності. Якщо ви шукаєте надійне рішення для акумуляції тепла, яке підходить для будинку, СТО чи виробничого приміщення – обирайте NEUS. Це інвестиція в комфорт, стабільність і економію ваших ресурсів.