Ведмідь KLZ газовий котел стаціонарного типу, відрізняється наявністю спеціального модуляційного пальника, який керує плавним регулюванням котла та вбудований 90-літровим бойлером із магнієвим електродом. Чавунні секції - основний елемент теплообмінника котла. Котел оснащений електронною системою для розпалювання та контролю наявності вогню. Він відрізняється великим коефіцієнтом корисної дії лише на рівні 92%. Характерною рисою цього котла є можливість керувати бойлером для ГВП. > Має інжекторний пальник та можливість працювати за попередньо встановленим температурним режимом залежно від погодних умов. Можна використовувати як з природним, так і зрідженим газом, при цьому необхідно ввести відповідні налаштування. У котлі Існує можливість регулювання його висоти установки, що дуже зручно для монтажу. Керування котлом може здійснюватися спеціальним термостатом або датчиком зовнішньої температури. Основне завдання котла - це опалення та підготовка гарячого водопостачання. Купити котел Protherm BEAR (Ведмідь) 50 KLZ Ви можете у нас в офісі або оформити замовлення через кошик з доставкою по всій території України.Протерм Ведмідь 50 KLZ - газовий котел з вбудованим бойлером
Особливості конструкції:
Особливості монтажу котлів Протерм Ведмідь 50 KLZ:
Основний функціонал котла Протерм Ведмідь 50 KLZ:
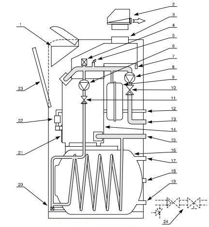
Функціональна схема котла Protherm BEAR (Ведмідь) 50 KLZ:

